Стенды ТНВД и Common Rail
Топливное оборудование в наличии и под заказ.
Мы используем файлы cookie для вашего удобства пользования сайтом. Оставаясь на сайте, вы соглашаетесь с  условиями использования файлов cookies.

ТНВД Камаз

 


КамАЗ является бесспорным лидером российской автопромышленности и заметным участником мирового рынка производителей грузовых автомобилей. За годы работы предприятием выпущено более 2,24 машин. Различные модели КамАЗов занимают почти половину отечественного рынка грузовиков, а в мировом рейтинге изготовителей грузовой техники компания находится на 16-м месте.

Основу модельной линейки КамАЗов представляют собой грузовые автомобили, оснащенные дизельным двигателем с турбонаддувом. Выпускаемые сегодня машины оборудованы самой прогрессивной системой впрыска горючего Common Rail. Обязательным элементом дизельных силовых агрегатов выступает топливный насос высокого давления или, как его часто сокращенно называют, ТНВД. Целью настоящей статьи является описание особенностей ТНВД КамАЗа, принципа его действия и функционального назначения, а также устройства и правил обслуживания и диагностики.

 

Назначение

Функциональное назначение ТНВД КамАЗов не отличается от стандартных топливных насосов высокого давления, используемых в дизельных двигателях. Оно состоит в решении нескольких ключевых задач:

· перемещение горючего к форсункам, соединенным с камерами сжигания;

· нагнетание давления топлива до уровня, необходимого для его самовоспламенения;

· дозировка дизельного топлива, обеспечивающая эффективность работы двигателя и максимально полное сжигание горючего;

· определение оптимального времени впрыска горючего в камеры сгорания;

· очистка горючего в процессе его транспортировки.

ТНВД любого дизельного двигателя имеет крайне важную роль для работы всего силового агрегата. Именно изобретение и постепенное совершенствование топливных насосов высокого давления привело к тому, что дизельные установки на дизельном топливе сначала успешно конкурировали, а затем и попросту стали превосходить двигатели, рассчитанные на использование бензина.

Важно отметить особенность, характерную именно для грузовых автомобилей, к классу которых относятся все модели КамАЗа. Речь идет о необходимости развивать серьезную мощность, совмещая ее с экономичностью и экологичностью в работе. Использование ТНВД и современной системы впрыска топлива Common Rail позволяет успешно решить поставленную задачу, что, наряду с доступной стоимостью, является важным конкурентным преимуществом продукции Камского автомобильного завода.

Устройство

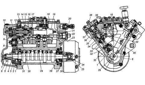
На различных моделях КамАЗов применяются разные модификации ТНВД. В большинстве выпускаемых заводом грузовых автомобилей используются двухрядные V-образные ТНВД, состоящие из 8 секций, расположенных по четыре в ряд. Они относятся к топливным насосам непосредственного действия, принцип работы которых предполагает механическое взаимодействие непосредственно с коленчатым валом.

Устройство ТНВД КамАЗа предусматривает наличие следующих частей, деталей и узлов:

· корпус топливного насоса, внутри которого располагаются остальные элементы механизма;

· основной рабочий узел ТНВД в виде плунжерной пары, расположенной в каждой секции;

· пружины, обеспечивающие перемещение поршня внутри цилиндра и передающие энергию кулачкового механизма на толкатели плунжера;

· сами толкатели плунжера;

· штуцеры впрыска и слива топлива;

· клапан электромагнитного типа, предназначенный для перекрытия впрыска топлива;

· электронные датчики и приборы управления и контроля над работой ТНВД.

Именно разнообразная электроника обеспечивает высокий КПД системы впрыска топлива Common Rail и оснащенного ею дизельного двигателя в целом. Благодаря действию автоматики обеспечивается экономичный режим работы топливной системы, уменьшается расход горючего и достигается его максимально полное сжигание, сокращающее вредные выбросы в атмосферу. Сказанное в полной мере касается ТНВД КамАЗов, которые устанавливаются на грузовые автомобили выпускаемых в настоящее время моделей.

Принцип работы

ТНВД КамАЗа предусматривает стандартную схему работы. Она включает в себя следующие стадии:

1. Механическая передача энергии коленчатого вала к кулачковому.

2. Вращение последнего, которое запускает движение толкателей, перемещающих плунжер при помощи пружин и собственного движения из исходного положения в нижней части гильзы в ее верхнюю часть.

3. Перекрытие поршнем впускного клапана и нагнетание давления в пространстве над плунжером.

4. Срабатывание клапана форсунки и распыление топлива внутри камеры сгорания под давлением, достаточным для самовоспламенения.

5. Слив излишков горючего и перемещение плунжера в исходное положение, в результате чего происходит открытие впускного клапана и запускается новый рабочий цикл.

Как показывает приведенное выше описание, принцип работы ТНВД КамАЗа является стандартным для любого топливного насоса высокого давления дизельного двигателя. Это вполне логично, так как главные требования к подобному механизму заключаются в надежности и долговечности. Именно для обеспечения данных параметров при изготовлении отдельных деталей ТНВД и, прежде всего, плунжерной пары, используются высокопрочные легированные стали, а сами детали – поршень и втулка - тщательно обрабатываются и притираются друг к другу, благодаря чему достигается требуемый уровень герметичности всего узла.

Основные причины неисправностей

Отечественная техника не относится к числу наиболее надежных и долговечных. Данное утверждение меньше всего относится к КамАЗам, давно доказавшим на практике возможность изготовления качественных грузовых автомобилей в России. В значительной степени успех продукции Камского автомобильного завода объясняется отменными эксплуатационными и техническими свойствами дизельных двигателей и установленных на них топливных насосов.

Однако, даже самая надежная и проверенная техника периодически приходит в негодность. Основными причинами выхода из строя топливного насоса являются:

· вода или воздух в системе подачи топлива. Такая ситуация возникает при использовании некачественного дизельного топлива, при серьезном уровне износа топливного фильтра, после замены отдельных узлов и деталей ТНВД, а также при недостаточной герметичности системы, результатом которой становится образование внутреннего конденсата на трубопроводах;

· наличие твердых примесей в дизельном топливе. В данном случае неисправность также происходит из-за плохо работающего топливного фильтра, которые требует очистки или замены;

· низкая смазывающая способность дизтоплива. В этой ситуации речь идет, прежде всего, об использовании несертифицированных или некачественных присадок, что может привести к выходу из строя ТНВД и необходимости дорогостоящей замены этой важной части дизельного двигателя;

· отсутствие герметичности системы подачи топлива. Наиболее негативные последствия неисправности такого вида – попадание воздуха в плунжерную пару и повышенный износ поршня и цилиндра, что неминуемо оборачивается дорогостоящим ремонтом и необходимостью замены пришедших в негодность деталей.

Основания для проведения диагностики, обслуживания или ремонта

Самый простой и эффективный способ обеспечить длительную и беспроблемную работу ТНВД КамАЗа – это регулярно проходить диагностику и техническое обслуживание, а при необходимости – и ремонт, посещая для этого специализированные сервисные центры. Дело в том, что самостоятельное регулирование и любые другие виды работ производить не рекомендуется, так как современный топливный насос представляет собой высокотехнологичный механизм, оснащенный точной и сложной электронной автоматикой.

Кроме того, не следует забывать, что все настройки ТНВД КамАЗа взаимосвязаны, что делает их регулировку, не говоря об обслуживании и ремонте, чрезвычайно сложным мероприятием, требующим наличия как высокоточного оборудования, так и специалистов, способных его эффективно использовать. Основанием для срочного обращения в специализированный центр по сервисному и техническому обслуживанию и ремонту системы подачи топлива КамАЗа выступают такие нередко встречающиеся проблемы в работе дизельных двигателей:

· перепады в показателях мощности. Специалисты рекомендуют в подобной ситуации срочно произвести регулировку цикловой подачи и УОНП ТНВД автомобиля;

· трудности с запуском агрегата. Причины неисправности в этом случае могут быть самыми разнообразными. Для их выявления и последующего устранения необходимости тестирование ТНВД и дизельного двигателя в целом на специальных стендах;

· увеличение расхода топлива. Крайне неприятный момент, заметно снижающий уровень экономичности при эксплуатации агрегата на дизельном топливе. Причина проблемы обычно заключается в износе деталей и узлов ТНВД, поэтому для устранения неисправности требуется их замена;

· посторонний или слишком громкий шум при эксплуатации силовой установки. Еще одно основание для срочного проведения диагностики, регулировки или технического обслуживания ТНВД КамАЗа с применением современного оборудования. Это объясняется тем, что существует множество потенциально возможных причин данной проблемы, достоверно выявить которые удается только в ходе тестирования на специальных стендах.

Правила эксплуатации

Для того, чтобы свести к минимуму риск неисправности в работе ТНВД КамАЗа, необходимо аккуратно выполнять несколько достаточно простых рекомендаций. В их число входят такие правила эксплуатации грузового транспортного средства:

1. Использование исключительно качественного дизельного топлива. Для этого следует заправляться на проверенных АЗС.

2. Регулярная очистка и, при необходимости, замена фильтров, установленных в системе подачи топлива.

3. Регулярная очистка и промывка отдельных узлов и деталей системы подачи топлива.

4. Применение только сертифицированных добавок и присадок к топливу после консультации со специалистом.

5. Обращение в специализированный сервисный центр при возникновении любых проблем в работе ТНВД и дизельного двигателя КамАЗа.

6. Регулярное сервисное и техническое обслуживание как системы подачи топлива, так и силового агрегата в целом.

7. Постоянный контроль над герметичностью топливной системы грузового автомобиля и оперативное устранение обнаруженных протечек.

8. Постоянная проверка надежности крепления ТНВД к дизельному двигателю. При необходимости – подтягивание ослабших болтовых соединений.

Вывод

ТНВД КамАЗа – это важный элемент дизельного двигателя грузовых автомобилей, выпускаемых Камским автомобильным заводом. Эксплуатационные и технические характеристики топливного насоса высокого давления в значительной степени определяют КПД и эффективность работы всего дизельного двигателя. Поэтому нет ничего удивительного, что разработке и совершенствованию ТНВД уделяется на заводе самое пристальное внимание.

Обязательным условием для длительной и беспроблемной эксплуатации топливного насоса выступает регулярное техническое обслуживание настолько важного для работы двигателя и всего грузового автомобиля узла. Лучше всего проводить диагностику, работы по обслуживанию и ремонту в специализированных сервисных центрах, обладающих как необходимым оборудованием в виде стендов для тестирования, так и штатом профессиональных и квалифицированных специалистов.